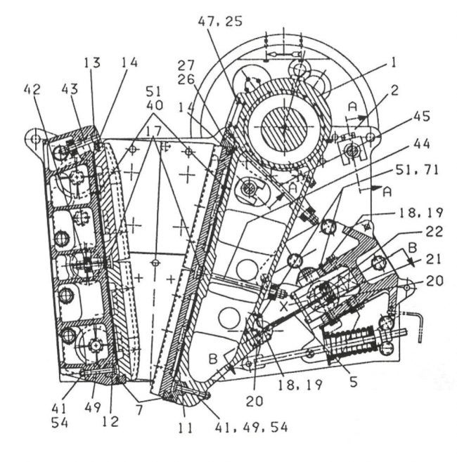
Jaw Crusher Setting Adjustment System
Maintenance for these parts must be carried out only by trained or authorized personnel, but the inspection can be performed by the operator. Worn components should be replaced in good time to avoid damaging the toggle plate or toggle seats, with a consequent need for expensive repairs. Sandvik recommends exchanging the toggle plate (5006-0) and…










